Las vibraciones II
Hojas Técnicas
1. Desalineaciones
Esta causa es casi tan común como el desequilibrio, aunque se utilicen rodamientos autolineables o acoplamientos flexibles. La fig. 12 a, b, c, d, ilustra diferentes tipos de desalineaciones. Un eje torcido entra asimismo dentro de este grupo.


Fig. 12
Las desalineaciones producen vibraciones radiales y axiales, proporcionales al grado del defecto. En general las vibraciones axiales son un 50% de las radiales. La frecuencia de las mismas coincide con la velocidad de rotación en rev/s.
Cuando la desalineación es importante, pueden salir frecuencias de 2 y 3 veces la de rotación.
Si la desalineación se produce en los cojinetes y éstos son de fricción, no habrá vibración por esta causa a menos que el rotor esté desequilibrado. En cambio si los cojinetes son rodamientos de bolas, se produce siempre vibración, esté o no desequilibrado el rotor. Fig.13.

Fig. 13
La desalineación axial o angular de dos poleas entre las que se transmite el movimiento mediante correas V, ver fig. 12 d, también produce vibraciones a 1, 2 y 3 veces la velocidad de rotación, principalmente en dirección axial.
2. Excentricidad
Ésta ocurre cuando el centro de rotación no coincide con el centro geométrico. En la fig. 14 se muestran varios casos de excentricidad.

Fig. 14
La del caso a) es un tipo de desequilibrio que puede subsanarse si se equilibra el conjunto eje-rotor.
En la b) y la c) se producen unas fuerzas radiales de comprensión en b y de tracción en c cuando los tres centros mostrados quedan alineados. Estas fuerzas provocan vibraciones a una frecuencia igual al número de revoluciones por segundo a las que gira la pieza con problemas de excentricidad.
3. Holguras
Normalmente provienen de tornillos flojos o de cojinetes con juegos demasiado grandes. No se producirá vibración a menos que existan otras fuerzas como las de desequilibrio o las de desalineación. Sin embargo fuerzas pequeñas pueden producir vibraciones importantes, por lo que es mejor solucionar las holguras que no eliminar las fuerzas, alineando o equilibrando mejor.
La frecuencia de estas vibraciones suele ser de 2 x rev/s.
4. Fuerzas aerodinámicas
Éstas en general no provocan vibraciones en el mismo ventilador, pero sí pueden engendrar vibraciones en los conductos acoplados al mismo.
Tienen una frecuencia igual al número de álabes multiplicado por la velocidad de rotación en rev/seg.
5. Cojinetes de fricción
Dan problemas de vibración cuando tienen un juego excesivo o están mal lubricados o se han desgastado por falta de mantenimiento. La frecuencia es 1 o 2 veces las rev/s.
En el caso de máquinas de alta velocidad pueden encontrarse frecuencias de vibración cercanas a la mitad de la velocidad de rotación (latigazo del aceite).
6. Rodamientos a bolas
Causan vibraciones cuando hay algún defecto en los caminos de rodadura o en las bolas.
De la fig. 15 podemos deducir la frecuencia según donde radique el defecto.

Fig. 15
7. Correas en V
Aparte de los problemas ya mencionados de desalineación y excentricidad, las correas pueden provocar vibraciones, especialmente cuando hay varias en paralelo y están desapareadas, condición que no se tiene demasiado en cuenta en la práctica.
Los defectos en las correas producen vibraciones a unas frecuencias que son múltiples de la velocidad lineal de aquéllas. Así:

En cambio los defectos en las poleas producen frecuencias iguales a su velocidad de rotación.
8. Motores eléctricos
Aparte de los problemas mecánicos expuestos hasta ahora, los campos electromagnéticos del motor pueden generar vibraciones.
En los motores asíncronos la frecuencia de las mismas suele ser el doble de la de la red de alimentación, es decir, encontramos vibraciones a 100 Hz o 120 Hz para alimentados respectivamente a 50 o 60 períodos.
Si el motor está bien construido, la severidad de estas vibraciones es baja, sin embargo si hay excentricidad en el rotor y en el estator o si hay defectos en la jaula de ardilla, pueden tomar valores alarmantes.
Una manera de identificar rápidamente los defectos de procedencia electromagnética es desconectar el motor y observar si desaparecen de inmediato. Los de origen mecánico se mantienen mientras va perdiendo velocidad.
9. Medida de vibraciones
Si nos fijamos en la tabla B en la Hoja Técnica, Vibraciones I, nos daremos cuenta de que la Norma ISO CD 14694 limita la vibración máxima no sólo por la categoría del ventilador, sino también según el tipo de montaje, distinguiendo un montaje rígido de otro flexible. Esto quiere decir que la severidad de la vibración de una máquina, no es propiedad intrínseca de la misma.
Para entender esto vamos a simular que realizamos un experimento con un motor montado sobre unos muelles que hace girar una masa desequilibrada, según la fig. 16.

Fig. 16
No es difícil intuir que al poner en marcha el motor, éste adquirirá un movimiento oscilatorio un poco complejo que se podrá descomponer en varias direcciones de las cuales, sólo nos fijaremos en la vertical.
Si para cada velocidad N del motor medimos la amplitud X0 de la oscilación, podremos obtener una gráfica como la de la fig. 17.

Fig. 17
En ella vemos que a medida que crece la velocidad, la amplitud también aumenta, pero no linealmente, de modo que a una velocidad N0 se hace muy grande para reducirse de nuevo hasta hacerse prácticamente constante, a valores altos de la citada velocidad.
Cuando se alcanza N0 decimos que el conjunto motor-soporte está en resonancia.
Si repetimos la experiencia montando la máquina sobre otros muelles de distintas rigideces K1, K2, K3... obtendremos otras gráficas semejantes, como las indicadas en la fig. 18.

Fig. 18
Si Nn es la velocidad nominal del motor, deduciremos de la misma fig.18 que las amplitudes obtenidas X01... X02... X03 a esta velocidad dependen de la rigidez de los muelles y por tanto del sistema de anclaje de la máquina.
En consecuencia nos podemos reafirmar en lo dicho al principio de este párrafo: la vibración no depende sólo de la máquina en sí, sino también de su montaje.
Antes de continuar con la medida de vibración vale la pena hablar de los parámetros que definen la velocidad o frecuencia de resonancia. Ésta coincide con la frecuencia natural del sistema motor-muelles, es decir aquélla que mediríamos con el motor parado después de separarlo con un impulso de su posición de equilibrio. Su valor se puede calcular fácilmente con la siguiente expresión:

K es la constante de rigidez del muelle en N/m y M la masa total del motor en Kg.
De lo dicho hasta aquí podemos intuir que una buena medida de vibración debe empezar por elegir unas condiciones de anclaje adecuadas de modo que sean bien conocidas y permitan obtener unos resultados repetitivos. Esto se consigue con un anclaje muy rígido o muy elástico de manera que quedemos lejos de la resonancia, donde las medidas estarían afectadas por una incertidumbre alta. (Una pequeña variación de la velocidad de rotación representaría unas variaciones muy grandes de la amplitud).
El siguiente paso consiste en determinar los puntos y direcciones donde debemos tomar las medidas.
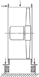
Para un montaje elástico éstos deben elegirse en los anclajes de la máquina y otros lugares apartados del eje de rotación, en dirección radial y axial. Fig. 19.

Fig. 19
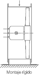
Si el montaje es rígido elegiremos puntos cercanos a los cojinetes íntimamente ligados a los mismos, haciendo también medidas en las direcciones radial y axial. Fig. 20.

Fig. 20
Sobre los puntos de medida se fijan rígidamente unos transductores de aceleración (acelerómetros) o de velocidad que transforman estas magnitudes en sendas señales eléctricas tratadas por un analizador Fig. 21.

Fig. 21
Los analizadores poseen unos filtros analógicos o digitales o son unas computadoras que calculan la Transformada Rápida de Fourier (FFT). Como salida proporcionan el espectro de frecuencia de la amplitud, velocidad o aceleración eficaces de la vibración del punto que se analiza.
También suelen dar el valor eficaz total de la magnitud medida para el rango de frecuencias que interese.
10. Aislamiento de vibraciones
Preliminares
Cuando una máquina se instala en su ubicación definitiva, la estructura que la soporta puede ser un medio perfecto para transmitir sus vibraciones y llevarlas a distancias considerables, causando problemas de ruido y vibración en recintos alejados.
Es por ello necesario colocar una barrera adecuada entre máquina y estructura que evite la propagación de la energía de las vibraciones. Estas barreras son los aislantes de vibraciones, muchas veces llamados "silent-blocks".
Volvamos al motor desequilibrado fig. 16. Si se une directamente a la base sin ningún muelle, toda la fuerza del desequilibrio se transmitirá a la estructura que la soporta. Decimos entonces que la "transmisibilidad" es igual a 1 ó del 100%, entendiéndose ésta como la relación entre la fuerza transmitida y la causante de la vibración. Asimismo diremos que el "aislamiento" es cero, definido como la diferencia hasta 1 o 100 de transmisibilidad en tanto por uno o en t%.
Supongamos ahora que los datos de la experiencia que simulamos con el motor y los muelles, los transformamos en transmisibilidad dividiendo la fuerza que realizan los muelles, igual a Kx0 por la fuerza del desequilibrio mw²r. Si estos datos los representamos, no en función de la velocidad de rotación, sino en función de ésta, dividida por:

obtendremos la gráfica de la fig. 22.

Fig. 22
En ella podemos ver que si los muelles son de una rigidez suficientemente baja como para que el número adimensional,

, tendremos que la transmisibilidad será , habrá amplificación de la fuerza de desequilibrio y en consecuencia no se cumplirá nuestro objetivo de aislar.
Para el caso de vibraciones verticales, la relación entre la frecuencia natural:

y la deflexión que tienen los muelles por causa del peso del motor (deflexión estática d0 ) es muy simple.

Esto nos permite relacionar esta fórmula con la fig. 22 y construir el ábaco de la fig. 23 que relaciona la velocidad de la máquina, la transmisibilidad, el aislamiento y la deflexión estática.

Fig. 23
Por ejemplo si montamos un ventilador sobre unos muelles y se produce una deflexión de 10 mm y la velocidad de giro es de 700 rev/min, los muelles proporcionarán un asilamiento del 80%, que es equivalente a decir que sólo transmitirán el 20% de la fuerza perturbadora.
Volviendo a la fig. 22 podremos darnos cuenta de que al poner en marcha la máquina o al pararla, el valor de la abscisa variará desde cero hasta la zona de aislamiento o al revés. Esto lleva consigo el hecho de pasar por la resonancia, lo cual significa que la fuerza es amplificada y en consecuencia transmitida a la estructura. Naturalmente esto no es bueno aunque se produzca de modo transitorio.
Para subsanar este problema podemos dotar a los muelles amortiguación.
Esta causa es casi tan común como el desequilibrio, aunque se utilicen rodamientos autolineables o acoplamientos flexibles. La fig. 12 a, b, c, d, ilustra diferentes tipos de desalineaciones. Un eje torcido entra asimismo dentro de este grupo.


Fig. 12
Las desalineaciones producen vibraciones radiales y axiales, proporcionales al grado del defecto. En general las vibraciones axiales son un 50% de las radiales. La frecuencia de las mismas coincide con la velocidad de rotación en rev/s.
Cuando la desalineación es importante, pueden salir frecuencias de 2 y 3 veces la de rotación.
Si la desalineación se produce en los cojinetes y éstos son de fricción, no habrá vibración por esta causa a menos que el rotor esté desequilibrado. En cambio si los cojinetes son rodamientos de bolas, se produce siempre vibración, esté o no desequilibrado el rotor. Fig.13.

| Con un casquillo de fricción desalineado sólo se producirán vibraciones si existen desequilibrios. | Con un rodamiento a bolas desalineado pueden aparecer vibraciones axiales haya o no desequilibrio | |
Fig. 13
La desalineación axial o angular de dos poleas entre las que se transmite el movimiento mediante correas V, ver fig. 12 d, también produce vibraciones a 1, 2 y 3 veces la velocidad de rotación, principalmente en dirección axial.
2. Excentricidad
Ésta ocurre cuando el centro de rotación no coincide con el centro geométrico. En la fig. 14 se muestran varios casos de excentricidad.

Fig. 14
La del caso a) es un tipo de desequilibrio que puede subsanarse si se equilibra el conjunto eje-rotor.
En la b) y la c) se producen unas fuerzas radiales de comprensión en b y de tracción en c cuando los tres centros mostrados quedan alineados. Estas fuerzas provocan vibraciones a una frecuencia igual al número de revoluciones por segundo a las que gira la pieza con problemas de excentricidad.
3. Holguras
Normalmente provienen de tornillos flojos o de cojinetes con juegos demasiado grandes. No se producirá vibración a menos que existan otras fuerzas como las de desequilibrio o las de desalineación. Sin embargo fuerzas pequeñas pueden producir vibraciones importantes, por lo que es mejor solucionar las holguras que no eliminar las fuerzas, alineando o equilibrando mejor.
La frecuencia de estas vibraciones suele ser de 2 x rev/s.
4. Fuerzas aerodinámicas
Éstas en general no provocan vibraciones en el mismo ventilador, pero sí pueden engendrar vibraciones en los conductos acoplados al mismo.
Tienen una frecuencia igual al número de álabes multiplicado por la velocidad de rotación en rev/seg.
5. Cojinetes de fricción
Dan problemas de vibración cuando tienen un juego excesivo o están mal lubricados o se han desgastado por falta de mantenimiento. La frecuencia es 1 o 2 veces las rev/s.
En el caso de máquinas de alta velocidad pueden encontrarse frecuencias de vibración cercanas a la mitad de la velocidad de rotación (latigazo del aceite).
6. Rodamientos a bolas
Causan vibraciones cuando hay algún defecto en los caminos de rodadura o en las bolas.
De la fig. 15 podemos deducir la frecuencia según donde radique el defecto.

Fig. 15
7. Correas en V
Aparte de los problemas ya mencionados de desalineación y excentricidad, las correas pueden provocar vibraciones, especialmente cuando hay varias en paralelo y están desapareadas, condición que no se tiene demasiado en cuenta en la práctica.
Los defectos en las correas producen vibraciones a unas frecuencias que son múltiples de la velocidad lineal de aquéllas. Así:

En cambio los defectos en las poleas producen frecuencias iguales a su velocidad de rotación.
8. Motores eléctricos
Aparte de los problemas mecánicos expuestos hasta ahora, los campos electromagnéticos del motor pueden generar vibraciones.
En los motores asíncronos la frecuencia de las mismas suele ser el doble de la de la red de alimentación, es decir, encontramos vibraciones a 100 Hz o 120 Hz para alimentados respectivamente a 50 o 60 períodos.
Si el motor está bien construido, la severidad de estas vibraciones es baja, sin embargo si hay excentricidad en el rotor y en el estator o si hay defectos en la jaula de ardilla, pueden tomar valores alarmantes.
Una manera de identificar rápidamente los defectos de procedencia electromagnética es desconectar el motor y observar si desaparecen de inmediato. Los de origen mecánico se mantienen mientras va perdiendo velocidad.
9. Medida de vibraciones
Si nos fijamos en la tabla B en la Hoja Técnica, Vibraciones I, nos daremos cuenta de que la Norma ISO CD 14694 limita la vibración máxima no sólo por la categoría del ventilador, sino también según el tipo de montaje, distinguiendo un montaje rígido de otro flexible. Esto quiere decir que la severidad de la vibración de una máquina, no es propiedad intrínseca de la misma.
Para entender esto vamos a simular que realizamos un experimento con un motor montado sobre unos muelles que hace girar una masa desequilibrada, según la fig. 16.

Fig. 16
No es difícil intuir que al poner en marcha el motor, éste adquirirá un movimiento oscilatorio un poco complejo que se podrá descomponer en varias direcciones de las cuales, sólo nos fijaremos en la vertical.
Si para cada velocidad N del motor medimos la amplitud X0 de la oscilación, podremos obtener una gráfica como la de la fig. 17.

Fig. 17
En ella vemos que a medida que crece la velocidad, la amplitud también aumenta, pero no linealmente, de modo que a una velocidad N0 se hace muy grande para reducirse de nuevo hasta hacerse prácticamente constante, a valores altos de la citada velocidad.
Cuando se alcanza N0 decimos que el conjunto motor-soporte está en resonancia.
Si repetimos la experiencia montando la máquina sobre otros muelles de distintas rigideces K1, K2, K3... obtendremos otras gráficas semejantes, como las indicadas en la fig. 18.

Fig. 18
Si Nn es la velocidad nominal del motor, deduciremos de la misma fig.18 que las amplitudes obtenidas X01... X02... X03 a esta velocidad dependen de la rigidez de los muelles y por tanto del sistema de anclaje de la máquina.
En consecuencia nos podemos reafirmar en lo dicho al principio de este párrafo: la vibración no depende sólo de la máquina en sí, sino también de su montaje.
Antes de continuar con la medida de vibración vale la pena hablar de los parámetros que definen la velocidad o frecuencia de resonancia. Ésta coincide con la frecuencia natural del sistema motor-muelles, es decir aquélla que mediríamos con el motor parado después de separarlo con un impulso de su posición de equilibrio. Su valor se puede calcular fácilmente con la siguiente expresión:
K es la constante de rigidez del muelle en N/m y M la masa total del motor en Kg.
De lo dicho hasta aquí podemos intuir que una buena medida de vibración debe empezar por elegir unas condiciones de anclaje adecuadas de modo que sean bien conocidas y permitan obtener unos resultados repetitivos. Esto se consigue con un anclaje muy rígido o muy elástico de manera que quedemos lejos de la resonancia, donde las medidas estarían afectadas por una incertidumbre alta. (Una pequeña variación de la velocidad de rotación representaría unas variaciones muy grandes de la amplitud).
El siguiente paso consiste en determinar los puntos y direcciones donde debemos tomar las medidas.
Para un montaje elástico éstos deben elegirse en los anclajes de la máquina y otros lugares apartados del eje de rotación, en dirección radial y axial. Fig. 19.

Fig. 19
Si el montaje es rígido elegiremos puntos cercanos a los cojinetes íntimamente ligados a los mismos, haciendo también medidas en las direcciones radial y axial. Fig. 20.

Fig. 20
Sobre los puntos de medida se fijan rígidamente unos transductores de aceleración (acelerómetros) o de velocidad que transforman estas magnitudes en sendas señales eléctricas tratadas por un analizador Fig. 21.

Fig. 21
Los analizadores poseen unos filtros analógicos o digitales o son unas computadoras que calculan la Transformada Rápida de Fourier (FFT). Como salida proporcionan el espectro de frecuencia de la amplitud, velocidad o aceleración eficaces de la vibración del punto que se analiza.
También suelen dar el valor eficaz total de la magnitud medida para el rango de frecuencias que interese.
10. Aislamiento de vibraciones
Preliminares
Cuando una máquina se instala en su ubicación definitiva, la estructura que la soporta puede ser un medio perfecto para transmitir sus vibraciones y llevarlas a distancias considerables, causando problemas de ruido y vibración en recintos alejados.
Es por ello necesario colocar una barrera adecuada entre máquina y estructura que evite la propagación de la energía de las vibraciones. Estas barreras son los aislantes de vibraciones, muchas veces llamados "silent-blocks".
Volvamos al motor desequilibrado fig. 16. Si se une directamente a la base sin ningún muelle, toda la fuerza del desequilibrio se transmitirá a la estructura que la soporta. Decimos entonces que la "transmisibilidad" es igual a 1 ó del 100%, entendiéndose ésta como la relación entre la fuerza transmitida y la causante de la vibración. Asimismo diremos que el "aislamiento" es cero, definido como la diferencia hasta 1 o 100 de transmisibilidad en tanto por uno o en t%.
Supongamos ahora que los datos de la experiencia que simulamos con el motor y los muelles, los transformamos en transmisibilidad dividiendo la fuerza que realizan los muelles, igual a Kx0 por la fuerza del desequilibrio mw²r. Si estos datos los representamos, no en función de la velocidad de rotación, sino en función de ésta, dividida por:

obtendremos la gráfica de la fig. 22.

Fig. 22
En ella podemos ver que si los muelles son de una rigidez suficientemente baja como para que el número adimensional,

Para el caso de vibraciones verticales, la relación entre la frecuencia natural:

y la deflexión que tienen los muelles por causa del peso del motor (deflexión estática d0 ) es muy simple.

Esto nos permite relacionar esta fórmula con la fig. 22 y construir el ábaco de la fig. 23 que relaciona la velocidad de la máquina, la transmisibilidad, el aislamiento y la deflexión estática.

Fig. 23
Por ejemplo si montamos un ventilador sobre unos muelles y se produce una deflexión de 10 mm y la velocidad de giro es de 700 rev/min, los muelles proporcionarán un asilamiento del 80%, que es equivalente a decir que sólo transmitirán el 20% de la fuerza perturbadora.
Volviendo a la fig. 22 podremos darnos cuenta de que al poner en marcha la máquina o al pararla, el valor de la abscisa variará desde cero hasta la zona de aislamiento o al revés. Esto lleva consigo el hecho de pasar por la resonancia, lo cual significa que la fuerza es amplificada y en consecuencia transmitida a la estructura. Naturalmente esto no es bueno aunque se produzca de modo transitorio.
Para subsanar este problema podemos dotar a los muelles amortiguación.